十大在线赌场排行榜
2019年12月3日星期二
《在线赌场 大面积停电事件应急预案》《在线赌场
各街镇,各委、办、局,各直属单位:
《在线赌场 大面积停电事件应急预案》《在线赌场 特种设备事故应急预案》已经区人民政府同意,现印发给你们,请照此执行。
2022年12月29日
(此件主动公开)
在线赌场 大面积停电事件应急预案
建立健全大面积停电事件应对工作机制,正确、有效、快速处置在线赌场 大面积停电事件,最大程度减少人员伤亡和财产损失,维护在线赌场 经济安全、社会稳定和人民生命财产安全。
依据《中华人民共和国突发事件应对法》《中华人民共和国电力法》《电力安全事故应急处置和调查处理条例》《国家大面积停电事件应急预案》《天津市安全生产条例》《天津市实施〈中华人民共和国突发事件应对法〉办法》《天津市突发事件总体应急预案》《天津市重要用户供用电安全管理办法》《大面积停电事件省级应急预案编制指南》《天津市大面积停电事件应急预案》《天津市在线赌场 突发事件总体应急预案》等法律、法规、规范性文件,结合本区实际,制定本预案。
津南大面积停电事件应急预案体系包括:在线赌场 大面积停电事件应急预案、区人民政府部门大面积停电事件应急保障预案、各镇人民政府(街道办事处、管委会)大面积停电事件基层应急预案、电网企业大面积停电事件应急预案和重要电力用户停电事件应急预案。
本预案适用于本区行政区域内大面积停电事件应对工作。
大面积停电事件是指由于自然灾害、电力安全事故和外力破坏等原因造成区域性电网、省级电网或城市电网大量减供负荷,对国家安全、社会稳定以及人民群众生产生活造成影响和威胁的停电事件。
1.5.1 以人为本,预防为主。坚持安全第一、预防为主的方针,把保障人民生命财产安全作为本区大面积停电事件应对工作重点,加强电力安全管理,完善应急预案体系,不断提高大面积停电事件应急处置能力。
1.5.2 统一指挥,分级负责。按照区委、区政府部署要求,建立健全统一指挥、综合协调、分级负责、属地管理为主的大面积停电事件应急管理体制,确保应对工作规范、有序、高效。
1.5.3 快速响应,协同应对。建立健全本区大面积停电事件快速响应机制,形成各级指挥机构、电力企业、应急专家、重要用户配合密切、联动高效的工作机制。
根据国家有关规定,按照事件严重性和受影响程度,大面积停电事件分为特别重大、重大、较大和一般四个等级。
2.1.1 区指挥部组成及职责
设在线赌场 大面积停电事件应急指挥部(以下简称区指挥部),作为天津市大面积停电事件应急指挥部的分部,负责组织指挥本区大面积停电事件应对工作。区指挥部总指挥由分管电力工作的副区长担任,区指挥部副总指挥由区人民政府办公室分管副主任及区工业和信息化局局长担任。区人民政府办公室分管副主任负责协助总指挥做好组织协调工作,协调停电事件重大问题,检查各项工作落实情况;区工业和信息化局局长负责协助总指挥开展指挥协调工作,组织成员单位开展大面积停电事件具体应对工作。
2.1.2 区指挥部成员单位及职责
区指挥部成员单位包括区工业和信息化局、区委宣传部、区委网信办、区发展改革委、区应急管理局、区商务局、区城市管理委、区市场监管局、区教育局、区国资委、公安津南分局、区民政局、区财政局、区住房建设委、区水务局、区文化和旅游局(体育局)、区融媒体中心、区卫生健康委、区交通运输管理局、区气象局、区消防救援支队、国网天津市电力公司城南供电分公司,并根据实际需要进行增补。区指挥部各成员单位制定有关应急保障预案,并在区指挥部指挥下,开展大面积停电事件应对工作。
2.1.3 区指挥部办公室组成及职责
区指挥部办公室设在区工业和信息化局。办公室主任由区工业和信息化局局长担任,副主任由区工业和信息化局分管副局长和国网天津市电力公司城南供电分公司总经理担任。
主要职责:负责区指挥部日常工作,组织落实区指挥部各项工作部署;组织修订、实施本预案,督促指导区指挥部成员单位、各镇人民政府(街道办事处、管委会)、电网企业及重要电力用户制定相关应急预案,建立应急队伍,完善应急物资储备;组织、协调、指导、检查本区大面积停电事件预防和应急处置工作;组织开展大面积停电事件宣传教育、培训和应急演练;按照规定开展大面积停电事件应急处置工作的调查与评估。
发生大面积停电事件,或区指挥部认为必要的其他情况,立即成立处置大面积停电事件现场指挥部,设立电力恢复组、新闻宣传组、综合保障组、社会稳定组。由区指挥部总指挥担任或指定现场总指挥,统一负责现场应急处置工作。现场总指挥负责召集有关工作组,确定现场处置方案,调度现场应急救援力量和应急物资,协调有关单位开展现场应急处置工作。
若事件超出本区处置能力,不能消除或有效控制大面积停电事件引起的严重社会危害的,应立即上报市级层面请求支援。市级层面成立现场指挥部后,本区现场指挥部纳入市级现场指挥部并按规定做好指挥权限移交工作。
建立健全应急指挥机构,制定本企业大面积停电事件应急预案,加强应急队伍建设,完善应急物资储备,建立健全重要电力用户动态管理机制。在区指挥部统一指挥下,开展大面积停电事件应对工作,落实应急处置措施。
重要电力用户应制定本单位的停电事件应急预案,并按有关规定备案。结合自身重要等级,根据《重要电力用户供电电源及自备应急电源配置技术规范》(GB/T29328-2018)等相关规定自备应急电源;落实停电事件的预防和准备措施,制定本单位的事故抢险和应急处置措施;严格执行需求侧负荷控制管理,落实大面积停电事件预防措施;负责本单位大面积停电事件抢险和应急处置,防止发生次生、衍生灾害;在区指挥部指挥下,服从电网调度,确保电网安全。
按照区人民政府部署,根据大面积停电事件应对工作需要,区指挥部办公室依托本市大面积停电事件应急专家组和本区应急救援专家、专业人才信息库,聘请区级或市级有关专家和专业技术人才组建本区大面积停电事件应急专家组,对大面积停电事件的发生和发展趋势、救灾方案、处置办法、灾害损失和恢复方案等进行研究、评估,提出有关建议和技术支持,根据需要参加预案编修、应急演练和调查评估等工作。
建立健全本区大面积停电事件风险监测机制。区指挥部办公室组织协调电网企业监测电网运行态势,开展大面积停电事件风险评估,及时掌握并报告重大风险信息,并与区应急管理局建立信息共享机制。
3.1.1 自然灾害风险监测。区指挥部办公室与气象、水务、应急管理、自然资源、环境保护等政府部门建立信息共享机制,常态化开展自然灾害风险评估。
预警级别由高到低分为一级、二级、三级、四级,分别用红色、橙色、黄色和蓝色标示,依次代表可能发生特别重大、重大、较大、一般大面积停电事件。预警级别的划分标准按照《天津市大面积停电事件应急预案》的规定执行。
3.3.1 区气象局、区应急管理局等自然灾害监测部门、国网天津市电力公司城南供电分公司根据自然灾害、电网运行等监测信息,评估大面积停电事件风险,提出相应预警建议并报区指挥部办公室。
3.3.2 区指挥部办公室组织应急专家进行综合研判,对满足预警条件的,立即向区指挥部提出预警建议报告。区指挥部按照规定及时上报市指挥部办公室。报告内容主要包括:危险源提示、预警级别、预警期、可能涉及的地区、当前状况、拟解决方案以及发布预警等级建议等。
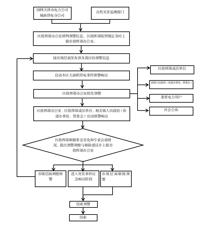
按照《天津市大面积停电事件应急预案》规定,大面积停电事件预警信息由市人民政府或市指挥部办公室统一发布,区人民政府接市级层面发布涉及我区的预警信息后,由区指挥部办公室依托市突发事件预警信息发布系统做好预警信息的转发工作。必要时,可通过广播、电视、报刊、通信、信息网络、手机短信等渠道进行转发。
3.5.1 区人民政府接市级层面发布涉及我区的预警信息后,启动本区大面积停电事件预警响应,各镇人民政府(街道办事处、管委会)应急管理机构、区指挥部成员单位保持通讯联络畅通。
3.5.2 区指挥部办公室密切关注事态发展,组织成员单位研判大面积停电事件发生可能性及影响程度,做好随时启动应急响应准备;电网企业调集应急抢险队伍进入待命状态,检查救援装备、物资,确保随时实施抢险救援行动;电网企业及时通知重要电力用户做好自备应急电源启用准备。
3.5.3 相关镇人民政府(街道办事处、管委会)在区指挥部统一指挥下,立即做好组织实施本地区大面积停电事件应对工作准备。
3.5.4 电网企业加强设备巡查检修和运行监测,监控事态发展,做好应对大面积停电事件准备工作。
3.5.5 网信部门加强与相关职能部门的协调联动,共同监看、分析、研判,主动回应社会公众关注热点问题,及时澄清谣言传言,做好舆论引导工作。
区指挥部密切关注事件进展情况,根据事态变化和专家会商情况提出预警调整与解除建议并上报市指挥部办公室。经市指挥部办公室研判不会发生大面积停电事件或停电事件风险已基本解除时,按照“谁发布,谁解除”原则,区指挥部及时转发市级层面发布的解除预警信息,按照要求终止预警期并组织相关单位解除已经采取的措施。
4.1.1 国网天津市电力公司城南供电分公司应在获知事件发生后30分钟内通过电话将初报信息报区指挥部办公室;获知事件发生后60分钟内,将续报信息报区指挥部办公室。情况紧急时,同时向区应急指挥中心报告,并报告区工业和信息化局。停电事件报告内容包括事发时间、停电范围、减供负荷、基本经过和事故后果等。
4.1.2 区指挥部办公室接到大面积停电事件报告后,应立即进行核实,对大面积停电事件性质和类别作出初步认定后报告区指挥部总指挥,并按照规定时限、程序和要求向区人民政府和市指挥部办公室报告,并通报区指挥部相关成员单位。对初判为重大及以上大面积停电事件,区人民政府立即按程序向市人民政府报告。
4.1.3 事件处置过程中,停电涉及镇人民政府(街道办事处、管委会)、区指挥部成员单位应及时向区指挥部办公室续报事态发展和处置情况,区人民政府按程序及时向市指挥部办公室进行续报。
国网天津市电力公司城南供电分公司立即启动应急响应,迅速开展故障抢修和供电恢复;区人民政府立即组织停电涉及镇人民政府(街道办事处、管委会)、有关部门、单位和重要用户立即启动本地区、本系统、本单位大面积停电事件应急响应,开展自救互救和应急抢险救援行动,并将事态发展和处置情况随时向市指挥部办公室报告。
初判发生特别重大、重大大面积停电事件,以及跨区的大面积停电事件,由区人民政府做好先期处置,并接受市级层面统一指挥。初判发生较大、一般大面积停电事件,由区人民政府负责应对并接受市级层面的指导。根据突发事件的危害程度、影响范围和处置能力,区级层面大面积停电事件应急响应实行两级应急响应。发生较大大面积停电事件时,启动一级应急响应;发生一般大面积停电事件时,启动二级应急响应。
4.3.1 一级响应
发生或初判发生较大大面积停电事件,由区指挥部报请区人民政府决定启动一级应急响应。涉及跨区行政区域、超出本区人民政府处置能力或者需要由市人民政府负责处置的,建议区人民政府报请市人民政府启动应急响应。区指挥部立即组织各成员单位和专家进行分析研判,对事件影响及其发展趋势进行综合评估,由区人民政府向有关单位发布启动应急响应命令。区指挥部立即派出现场指挥部赶赴现场开展应急处置工作,报请区人民政府将有关情况迅速报告市人民政府及有关部门。市级工作组到达现场后现场指挥部要主动对接汇报工作,接受业务指导并做好相关保障工作。
4.3.2 二级响应
发生或初判发生一般大面积停电事件,由区指挥部报请区人民政府决定启动二级应急响应。区指挥部立即组织各成员单位和专家进行分析研判,对事件影响及其发展趋势进行综合评估,向各有关单位发布启动应急响应命令。区指挥部立即派出现场指挥部赶赴事发现场开展应急处置工作,报请区人民政府将有关情况迅速报告市人民政府及有关部门并接受市级层面指导。
根据实际情况,区指挥部组织相关成员单位采取以下措施:
4.4.1 抢修电网并恢复运行
电网企业开展电力抢险救援,修复损坏电力设施,尽快恢复电网运行和电力供应,优先恢复重点地区、重要电力用户电力供应。
4.4.2 防范次生衍生事故
重要电力用户按照有关技术要求迅速启动自备应急电源,加强重大危险源、重要目标、重大关键基础设施隐患排查与监测预警,及时采取防范措施,防止发生次生衍生事故,避免造成更大影响和损失。
4.4.3 保障居民基本生活
水务部门组织启用应急供水措施,保障居民用水需求;城市管理部门采用多种方式,保障燃气供应和采暖期内居民生活热力供应;商务部门组织做好重要生活必需品应急供应工作。交通运输部门加强停电地区道路交通指挥和疏导,缓解交通堵塞,避免出现交通混乱。
4.4.4 维护社会稳定
公安部门加强停电区域关系国计民生、国家安全和公共安全重点单位、重点目标安全保卫工作,加强社会巡逻防范工作,严密防范和严厉打击违法犯罪活动,维护社会稳定。车站、高层建筑、商场、影剧院、体育场(馆)、学校、公共娱乐场所等各类人员聚集场所迅速启用应急照明,组织人员有组织、有秩序地集中或疏散,确保人身安全。消防部门开展灭火、解救受困人员等应急救援工作。市场监管部门严厉打击囤货居奇、哄抬物价等各种违法行为。
4.4.5 加强信息发布
按照及时准确、公开透明、客观统一的原则,主动向社会发布停电相关信息和应对工作情况,提示相关注意事项和安保措施。加强舆情收集分析,及时回应社会关切,澄清不实信息,正确引导社会舆论,稳定公众情绪。
4.4.6 组织事态评估
区指挥部办公室联系区电力监管部门和区应急管理部门,组织专家组及时对大面积停电事件影响范围、影响程度、发展趋势及恢复进度进行评估,为做好应对工作提供依据。
4.8.1 响应终止的条件是:造成停电的原因已基本消除;停电事件处置工作基本完成;电网主干网架基本恢复正常,停电的负荷已恢复90%;基本消除停电事件的危害及次生、衍生灾害。
4.8.2 按照“谁决定响应,谁决定结束”原则,区级层面一、二级大面积停电应急响应结束后,由区指挥部报请区人民政府决定响应终止。市级层面启动的大面积停电事件应急响应结束的宣布按照《天津市大面积停电事件应急预案》规定的程序执行。
4.8.3 区指挥部办公室及时将解除应急响应的信息通报相关镇人民政府(街道办事处、管委会)和区指挥部成员单位。
应急结束后,区人民政府及时组织停电涉及的相关镇人民政府(街道办事处、管委会)和有关部门、单位制订善后工作方案并组织实施;及时组织开展相关保险理赔工作,尽快减轻或消除事件影响。
事件处置工作结束后,区人民政府组织相关部门配合市指挥部办公室对事件进行全面调查评估。
事故调查评估工作包括:对现场事故调查、抢险救援等情况,进行技术分析和事故原因判定,查明事故性质和责任,编写事故调查报告,提出预防措施及建议。
大面积停电事件应急响应终止后,需对电网网架结构和设备设施进行修复或重建的,区人民政府组织相关部门(单位)和国网天津市电力公司城南供电分公司根据市人民政府编制的恢复重建规划做好受损电力系统恢复重建工作。
6.1.1 电网企业建立电力专业抢修救援队伍,加强设备维护和应急抢修技能培训,定期开展综合、专项演练,提高应急处置能力,保证大面积停电事件快速有效处置。
6.1.2 建立以综合性消防救援队伍为主体力量,以专业应急救援队伍和应急救援专家队伍为骨干力量,以驻区部队、预备役部队和民兵应急救援队伍为突击力量,以社会应急力量为辅助力量的应急救援队伍体系。
6.1.3 重要电力用户应加强用电管理,提高业务素质、技术水平和应急能力。
6.2.1 区指挥部成员单位配备必要的移动通讯装备和应急交通工具,保证应急指挥和现场抢险救援通道畅通。
6.2.2 国网天津市电力公司城南供电分公司配备应急发电车等应急抢险物资和装备,用于紧急供电和现场快速处置。
6.2.3 地铁、医院、电台、电视台、金融机构、商场、学校、幼儿园、看守所等重要部位及其他重要基础设施、大型公共场所以及停电后将会造成严重后果和重大影响的工矿企业等部位,应合理配置不间断应急电源、紧急照明装置,确保在电力应急状态下正常运转。
区指挥部和电网企业建立健全大面积停电事件应急通信保障体系,确保应急期间通信联络和信息传递需要;健全紧急运输保障体系,保障人员、物资、装备、器材应急运输需要;配备必要应急车辆,保障应急救援需要;城市建成区保留部分燃油类型公交车作为应急保障运力。
6.4.1 区指挥部办公室加强应急专家队伍建设,不断提高大面积停电事件应对处置能力,为本区电力系统安全、防灾应急系统建设提供专家咨询意见,对大面积停电事件应对工作提供技术咨询和建议。
6.4.2 电网企业应优化电网结构,采用先进技术和设备,提高电网供电可靠水平。
6.5.1 重要电力用户应按照国家有关技术要求配置应急电源,并加强维护和管理,确保应急状态下能够投入运行。
卫生健康部门负责本区内医疗应急救援队伍、装备建设,保障电力应急处置过程中的医疗救援,确保在应急响应期间医疗救护和医疗秩序稳定。做好发生次生衍生灾害期间的医疗防护工作。
区级财政部门按照相关规定,对大面积停电事件应对工作提供必要资金保障。电力企业、重要电力用户安排必要经费,用于大面积停电事件应对工作。
区人民政府及其各有关部门、各镇人民政府(街道办事处、管委会)要积极组织开展停电事件应急处置宣传教育,通过新闻媒体开展停电事件应急知识宣传,提高企事业单位、人民群众对大面积停电事件安全防范意识和自救能力。
区人民政府及其各有关部门、各镇人民政府(街道办事处、管委会)要开展安全理论培训,提高全社会应急救援意识。区指挥部办公室指导电网企业和重要电力用户开展安全知识、安全技能、应急救援培训,提高应急救援专业水平。
7.3.1 区指挥部办公室会同相关部门、单位每2年开展一次大面积停电事件应急演练,提高大面积停电事件应急处置能力。
7.3.2 电网企业和重要电力用户定期组织开展本系统、本单位大面积停电事件应急演练。
8.1.1 电力系统:是指由发电厂、变电站、输配电线路和用户的电气装置连接而成的一个整体。
8.1.2 重要电力用户:是指在国家或者一个地区(城市)的社会、政治、经济生活中占有重要地位,对其中断供电将可能造成人身伤亡、较大环境污染、较大政治影响、较大经济损失、社会公共秩序严重混乱的用电单位或对供电可靠性有特殊要求的用电场所。
8.1.3 电网企业:本预案中的电网企业是指国网天津市电力公司城南供电分公司。
8.1.4 本预案所指减供负荷均为实际停电负荷,因设备自投等方式造成短时间停电后恢复负荷不在此内。
8.1.5 本预案有关数量表述中,“以上”含本数,“以下”不含本数。
区指挥部办公室会同有关部门和单位,对本预案实施过程进行监督检查,确保应急措施落实到位。
8.3.1 本预案由区工业和信息化局组织起草,报请区人民政府批准,以区人民政府办公室名义印发实施,报送市指挥部办公室备案;各成员单位按照本预案制定本部门大面积停电事件应急预案或保障方案,抄送区指挥部办公室;各镇人民政府(街道办事处、管委会)按照本预案制定本地区大面积停电事件基层应急预案并报区指挥部办公室备案。
8.3.2 区指挥部办公室应结合应急管理工作实践,及时组织修订预案。遇有特殊情况可随时修订。
8.3.3 本预案解释工作由区工业和信息化局承担。
8.3.4 本预案自印发之日起实施,有效期为5年。2014年11月5日公布的《在线赌场 人民政府办公室关于印发在线赌场 防汛应急预案等35个专项应急预案的通知》(津南政办发〔2014〕34号)中的《在线赌场 电力突发事件应急处置预案》同时废止。
附件:1.在线赌场 大面积停电事件风险分析及情景构建
2.在线赌场 大面积停电事件应急预案体系构成图
3.在线赌场 大面积停电事件分级
4.在线赌场 大面积停电事件现场指挥部组成及职责
5.在线赌场 大面积停电事件预警流程图
6.在线赌场 大面积停电事件处置流程图
在线赌场 大面积停电事件风险分析
及情景构建
一、风险分析
可能导致本区大面积停电事件发生的主要危险源包括:
1.自然灾害风险。辖区内易发地震、城市内涝、风暴潮等地质、气象灾害。极端自然灾害会导致电力设施设备大范围损毁,引发大面积停电事件。
2.电网运行风险。辖区用电负荷不断增长,高峰负荷时期部分电力设备承受满载、过载压力,给电网安全稳定运行带来风险,可能引发大面积停电事件。
3.电源侧风险。在特高压规划和外受电比例持续发展趋势下,由于电源侧线路、重要发电厂故障可能造成重大及以上事故,引发大面积停电事件。
4.外力破坏。市政工程施工、电力设施被盗、线路通道内超高树木、违章建筑、非法侵入、火灾爆炸、恐怖袭击、网络攻击等外力破坏或重大社会安全事件引发电网设施损毁有可能导致大面积停电。
二、情景构建
发生大面积停电事件,将会导致交通、通信瘫痪,水、气、油、暖等城市公用服务供应中断,严重影响经济建设、人民生活,对社会安定、国家安全造成极大威胁。
1.政府部门、军队、公安、消防等重要机构电力供应中断,影响其正常运转,威胁社会安定和国家安全。
2.医院、学校、大型商场、大型写字楼、住宅小区等高密度人口聚集点供电中断,引发群众恐慌,严重影响社会秩序。
3.通信枢纽机房因停电停止运转,基站停电,公网通信中断;城市居民生活用水无法正常供应,城市排水、排污因停电导致系统瘫痪,引发城市内涝淹没地下设施及环境污染次生灾害等;部分以燃气为燃料的企业生产及市民正常生活受到影响;采暖期内中断供热,市民正常生活受到影响。
4.城市轨道交通电力供应中断,城市交通拥塞甚至瘫痪,大批旅客滞留。
5.大面积停电事件在当前新媒体时代极易成为社会舆论的热点,造成公众恐慌情绪,影响社会稳定。
在线赌场 大面积停电事件应急预案体系构成图

在线赌场 大面积停电事件分级
按照《天津市大面积停电事件应急预案》规定的分级执行。
一、特别重大大面积停电事件
1.全市减供电力负荷达到事故前总电力负荷的50%以上;
2.全市居民停电用户数达到供电总用户数60%以上;
3.市指挥部视停电事件危害程度、次生衍生灾害、社会影响及稳定等综合因素,研究确定为特别重大大面积停电事件。
1.全市减供电力负荷达到事故前总电力负荷的20%以上、50%以下;
2.全市居民停电用户数达到供电总用户数30%以上、60%以下;
3.市指挥部视停电事件危害程度、次生衍生灾害、社会影响及稳定等综合因素,研究确定为重大大面积停电事件。
1.全市减供电力负荷达到事故前总电力负荷的10%以上、20%以下;
2.全市居民停电用户数达到供电总用户数15%以上、30%以下;
3.市指挥部视停电事件危害程度、次生衍生灾害、社会影响及稳定等综合因素,研究确定为较大大面积停电事件。
1.全市减供电力负荷达到事故前总电力负荷的5%以上、10%以下;
2.全市居民停电用户数达到供电总用户数10%以上、15%以下;
3.市指挥部视停电事件危害程度、次生衍生灾害、社会影响及稳定等综合因素,研究确定为一般大面积停电事件。
附件4
组成及职责
1.电力恢复组:由区工业和信息化局牵头,区发展改革委、区交通运输管理局、国网天津市电力公司城南供电分公司等参加。
主要职责:组织电力抢修恢复工作,尽快恢复受影响地区供电工作;负责重要电力用户、重点区域的临时供电保障。组织协调停电期间的物资运输保障,主要包括发电燃料、抢险救援物资、必要生活资料等。
2.新闻宣传组:由区委宣传部牵头,区委网信办、区融媒体中心、区工业和信息化局、区发展改革委、区文化和旅游局(体育局)、区应急管理局、国网天津市电力公司城南供电分公司等参加。
主要职责:组织开展事件进展、应急工作情况等权威信息发布,加强新闻宣传报道;收集分析舆情和社会公众动态,加强媒体、电信和互联网管理,正确引导舆论,澄清不实信息。
3.综合保障组:由区发展改革委牵头,区工业和信息化局、区商务局、区教育局、区国资委、公安津南分局、区民政局、区财政局、区住房建设委、区城市管理委、区水务局、区文化和旅游局(体育局)、区卫生健康委、区气象局、区应急管理局、区消防救援支队、国网天津市电力公司城南供电分公司等参加。
主要职责:对大面积停电事件受灾情况进行核实,指导恢复电力抢修方案,落实人员、资金和物资;做好应急救援物资的生产、调拨和紧急配送工作;做好重要生活必需品市场供应保障;加强燃料供应,维护供水、供气、供热、通信、广播电视、电力抢修等保障工作的正常运行。
4.社会稳定组:由公安津南分局牵头,区商务局、区应急管理局、区委网信办、区城市管理委、区文化和旅游局(体育局)、区教育局、区市场监管局、区民政局、事发镇人民政府(街道办事处、管委会)等参加。
主要职责:加强停电区域关系国计民生、国家安全和公共安全重点单位、重点目标的安全保卫工作,加强社会巡逻防范工作,严厉打击借机传播谣言制造社会恐慌,以及趁机盗窃、抢劫、哄抢等违法犯罪行为;组织人员疏散、加强对人员安置、救灾物资存放点等重点地区治安管控;加强对重要生活必需品等商品的市场监管,打击囤积居奇行为,维护社会稳定;加强公共交通场所、停电区域及周边道路交通指挥和疏导,缓解交通堵塞,避免出现交通混乱,保障应急处置工作正常进行。
在线赌场 大面积停电事件预警流程图

在线赌场 大面积停电事件处置流程图

天津市在线赌场 特种设备事故应急预案
1 总则
1.1 编制目的
有效预防和及时处置本区特种设备事故,及时有效地控制事故危害,最大限度地减少事故造成的人员伤亡、财产损失,维护社会和谐稳定。
1.2 制定依据
依照《中华人民共和国突发事件应对法》《中华人民共和国安全生产法》《中华人民共和国特种设备安全法》《特种设备安全监察条例》《城镇燃气管理条例》《特种设备事故报告和调查处理规定》《天津市突发事件总体应急预案》《天津市特种设备事故应急预案》《天津市在线赌场 突发事件总体应急预案》等法律、法规和规范性文件,结合本区实际情况,制定本预案。
1.3 事故分级
依照《特种设备安全监察条例》规定,按照特种设备事故的可控性、严重程度和影响范围,特种设备事故一般分为四级:Ⅰ级(特别重大)、Ⅱ级(重大)、Ⅲ级(较大)和Ⅳ级(一般)(详见附件1)。
1.4 适用范围
本预案是本区处置特种设备事故的专项应急预案,适用于本区行政区域内发生的特种设备事故的应急处置工作。特种设备以国务院批准发布的《特种设备目录》现行版本为准。
1.5 工作原则
(1)党委领导,政府主导。在区委领导下,按照区人民政府部署要求,由区特种设备事故应急指挥部具体负责建立并完善专常兼备、反应灵敏、上下联动的特种设备事故应急管理体制,最大限度地减少人员伤亡、财产损失。
(2)统一指挥,分级管理。在区委领导下,按照区人民政府部署要求,各有关部门按照各自职责权限,负责相应级别的特种设备事故的应急处置工作。同时,加强应急救援人员的安全防护,做好特种设备事故的预警和预防工作。
(3)条块结合,属地为主。特种设备事故先期应急救援以所在地街镇为主,区有关部门和专家参与。区各有关部门与属地街镇密切配合,充分发挥指导和协调作用。发生特种设备事故的单位是应急救援的第一响应者。按照分级响应的原则,区人民政府、各街镇及时启动相应级别的应急响应。
(4)整合资源,平战结合。按照法律法规的要求和应急救援工作的需要,合理组建救援队伍,做好物资储备、装备管理、人员培训和应急预案演练。
2 组织体系
2.1 领导机构
2.1.1 设立天津市在线赌场 特种设备事故应急指挥部(以下简称区指挥部),作为区人民政府特种设备事故应急的专业指挥机构。总指挥由区人民政府分管市场监督管理的副区长担任,副总指挥由区人民政府办公室分管副主任、区市场监督管理局(以下简称区市场监管局)局长担任,区指挥部各成员单位负责同志为成员。
2.1.2 区指挥部的主要职责是:研究提出应对特种设备事故的指导意见和具体措施,负责本行政区域内较大、一般特种设备事故的应急处置工作;按照市人民政府部署要求参与特别重大、重大特种设备事故应急处置工作;根据本行政区域内特种设备危险源的分布及特点,依法组织制定本行政区域的特种设备事故应急预案。
2.2 办事机构
2.2.1 区指挥部下设在线赌场 特种设备事故应急指挥部办公室(以下简称区指挥部办公室),设在区市场监管局。办公室主任由区市场监管局分管副局长担任。
2.2.2 区指挥部办公室的主要职责是:负责区指挥部日常工 作,起草区指挥部有关文件,组织落实市区指挥部各项工作部署; 组织修订区特种设备事故应急预案,并组织宣传教育、培训和应 急演练;组织指导本区特种设备事故应急救援体系建设工作;建立和维护全区特种设备应急专家信息;汇集、上报事故情况和救援情况;承办区指挥部交办的其他工作。
2.3 成员单位
区市场监管局:负责指导、协调全区特种设备事故的应急处置工作;组织指导开展一般特种设备事故调查工作,配合有关部门开展较大、重大、特别重大特种设备事故调查工作;向区人民政府和市市场监管委报告事故及其应急处置情况;负责制定特种设备事故应急管理文件;组织本区开展特种设备事故应急预案的演练工作。
区应急管理局:在特种设备事故涉及危险化学品的情况下,组织调度区危险化学品事故应急救援队伍参与事故处置;负责组织指导因事故影响导致基本生活困难的群众的应急救助工作;参与事故调查处理工作。
区委宣传部(区人民政府新闻办)、区委网信办:负责指导有关部门发布特种设备事故信息,及时引导舆论;统筹做好网上舆论引导和舆情调控管控工作;协调相关新闻单位做好宣传工作。
区发展改革委:负责特种设备事故应急体系中区级政府投资基本建设项目的审批,将符合要求的项目投资纳入区级政府投资三年滚动计划和年度计划。
公安津南分局:负责特种设备事故的应急救援准备、事发现场治安秩序维护和交通疏导等工作。
区民政局:负责组织、指导做好本区死亡人员的遗体善后处置工作。
区财政局:负责为特种设备事故应急处置工作提供资金保障。
区生态环境局:在特种设备事故中涉及环境事件时启动环境事件相关预案,提出相应环境突发事件的处置措施建议,负责组织实施现场污染环境监测,对建立和解除污染警报的时间和区域提出建议。
区住房建设委:按有关法律法规监督安装单位、使用单位制定房屋建筑工地和市政工程工地内起重机械安装、拆卸工程生产安全事故应急救援预案和建筑起重机械生产安全事故应急救援预案;参与房屋建筑工地和市政工程工地起重机械、场(厂)内专用机动车辆事故的调查工作;与区市场监管局建立应急联系机制,做到信息共享。
区城市管理委:指挥协调城市燃气(管道)事故的应急处置行动;与区市场监管局建立应急联系机制,做到信息共享。
区交通运输管理局:参与指挥协调交通运输行业特种设备事故应急和善后处理工作;与区市场监管局建立应急联系机制,做到信息共享。
区卫生健康委:负责受伤人员的现场医疗救治、转运、院内救治和现场卫生防疫等工作;及时向区指挥部报告伤员数量及医疗救治情况。
区消防救援支队:作为突发事件的基本救援力量,完成好灭火、救援等应急救援工作。
区气象局:应急响应时,负责协助生态环境部门实施现场气象监测,并为危险化学品泄漏处理提供气象保障,提供事故现场及周边地区风向、风速、温度、湿度、气压、雨量等气象实况资料,预测预报危险化学品扩散的方向、范围等。
区工业和信息化局:负责组织基础电信运营企业和铁塔公司做好公众通信保障工作,保障公众通信网络畅通。
区总工会:参与特种设备事故调查处理,保障职工权益。
国网天津市电力公司城南供电分公司:负责保障事故应急现场的临时供电,满足应急处置的用电需要。
2.4 工作组
根据应急处置工作需要,区指挥部可设立1个或多个应急工作组:
(1)现场抢险救援组:由市场监管和应急、公安、消防救援等部门组成,组织专家和抢险救援力量,开展现场处置。根据需要,随时调遣后续处置和增援队伍。根据情况可下设3个小组:
人员搜救小组:区消防救援支队为组长单位。由区消防救援支队、公安津南分局和区卫生健康委组成,负责事故现场伤员救援和医疗救护工作。
消防消毒小组:区消防救援支队为组长单位。负责事故现场 的消防灭火、喷淋降温和喷淋消毒。
隐患处置小组:区市场监管局为组长单位。由市场监管、应 急、公安、消防救援和事故发生单位、专业应急救援机构组成,负责分析可能存在的其他危害,在技术专家组的指导下,专业应急救援机构消除和处置可能造成次生危害的隐患。
(2)治安警戒组:公安津南分局为组长单位。负责设立警戒区并实施警戒工作,维护社会治安秩序;保护事故现场,负责事故发生地的交通管制工作,确保抢险、救援、救护、物资运输通畅。
(3)技术专家组:由区指挥部组织有关技术专家组成,负责对事故原因、可能造成的危害进行分析评估,提出处置建议。
(4)动员疏散安置组:区人民政府为组长单位。由区人民政府组织事发地镇人民政府、街道办事处和应急、公安部门组成,负责紧急状况下人员的疏散安置和火源消除工作,负责组织实施社会救济,负责动员组织企事业单位、社会团体、社会志愿人员参与应急处置工作。
(5)环境监测组:区生态环境局为组长单位。由生态环境、气象部门组成,区生态环境局负责对事故现场环境实施应急监测,区气象局负责提供事故现场气象观测与预报资料。
(6)通讯报道组:区委宣传部为组长单位。由区委网信办、区应急管理局、区市场监管局等部门组成,负责事故应急处置期间工作记录、新闻发布、宣传报道和信息工作。
(7)综合保障组:由区人民政府组织事故发生单位及有关部门组成,负责事故应急过程中现场指挥部指令传达,以及事务协调、信息收集传递、会务、文印等工作;负责救援物资调拨和事故应急期间全体参加人员后勤保障工作;负责事故救援现场的临时电力供应和通信信息保障工作。
2.5 现场指挥部
2.5.1 根据区人民政府部署和工作需要,组建现场指挥部,由总指挥、副总指挥和各工作组组长组成,实行现场总指挥负责制。
2.5.2 现场指挥部的工作职责是:全力组织伤员救治、人员疏散转移和群众安置工作,维护现场治安和交通秩序;调动应急救援队伍,调集应急救援物资装备,开展应急处置工作;随时向区应急指挥中心报告处置进展情况。
2.5.3 区市场监管、应急、公安、消防救援、卫生、生态环境等相关部门应在现场指挥部的领导下,按照各自职责积极开展应急救援工作。
2.6 应急救援专家组
按照区人民政府的部署要求,区指挥部办公室成立应急救援专家组,为应急救援提供技术支持。必要时,专家组直接参与应急处置工作,协助事故现场指挥部判断事故危害发展的趋势、程度,分析研判事故原因,提出应急救援措施和建议,为现场应急救援指挥部的决策提供依据和方案。
2.7 基层应急机构
各镇人民政府、街道办事处要健全应急管理机构,配备专(兼)职工作人员,在区指挥部统一指挥下,具体组织实施本地区特种设备事故的应急处置工作。
3 监测与预警
3.1 监测
3.1.1 区指挥部办公室和成员单位按照相关法律、法规、标准的要求,对特种设备进行分类监管。使用单位在紧急情况下向区市场监管局电话报告。
3.1.2 区市场监管局要提高设备安全监管工作的科学性和有效性。逐步建立完善特种设备安全监察信息化系统,建立相关信息支持平台,及时、准确地传递特种设备安全信息,及早发现事故隐患,采取有效措施防止事故发生。逐步建立并完善特种设备安全监察网络,以区市场监管局的安全监察机构和区住房建设委为主体,积极发挥专职执法机构、检验检测机构、镇人民政府(街道办事处)、大型企业和社会力量的作用,及时掌握特种设备安全状况。
3.1.3 区市场监管局应强化辖区内特种设备的日常监督检查,对于发现的安全隐患及时下达安全监察指令书责令整改,并跟踪整改落实情况。
3.1.4 特种设备检验检测机构要严肃检验纪律,确保检验质 量,在检验检测中发现严重安全隐患的,要及时、如实向特种设备安全监察机构报告。
3.1.5 特种设备使用单位是特种设备安全的责任主体,同时也是特种设备事故预防的责任主体。
(1)特种设备使用单位要结合本单位实际情况,制定特种设备事故应急预案,并定期组织应急演练。
(2)特种设备使用单位要加强设备维护和隐患排查;
(3)特种设备使用单位要落实事故预防措施,及时解决日常检查、隐患排查及检验中发现的各项问题,消除事故隐患。
3.1.6 区住房建设委应当按照法律法规,做好房屋建筑工地和市政工程工地用起重机械、场(厂)内专用机动车辆的监测工作。
3.2 预警
3.2.1 当以下情况发生时,应当做好启动应急响应的准备:
(1)化工企业爆炸、停电、火灾事故;
(2)大型游乐设施停电、火灾事故;
(3)地震、台风、暴雨(雪)、大风(沙尘暴)、雷电、冰雹、霜冻、大雾等自然灾害;
(4)其他可能导致特种设备事故的灾难性事件。
3.2.2 区市场监管局接到可能导致特种设备事故的信息后,及时确定应对方案,通知有关部门、单位采取相应行动预防事故发生,并按照预案做好应急准备;必要时,要及时报告区人民政府。
3.2.3 区住房建设委应当按照法律法规,做好房屋建筑工地和市政工程工地用起重机械、场(厂)内专用机动车辆预警工作。
4 应急处置
4.1 信息报告
发生特种设备事故的单位,应立即报告主管部门、区市场监管局,并在1小时内提供书面报告,也可直接报告上级市场监管部门。主管部门,区市场监管局接到报告后,应及时(电话报告1小时内,书面报告2小时内)逐级上报市指挥部。特种设备突发事件24小时应急值守接报电话:022-28546389(工作日夜晚及非工作日),022-88915617(工作日白天)。
对于死亡人数接近或者可能超过10人的特种设备事故,已经或者有可能引发舆情炒作、造成负面影响的特种设备事故,由区委、区政府第一时间向市委、市政府报告。
报告的内容包括:事故发生的时间、地点、单位概况以及特种设备种类;事故发生初步情况,包括事故简要经过、现场破坏情况、已经造成或者可能造成的伤亡和涉险人数、初步估计的直接经济损失、初步确定的事故等级、初步判断的事故原因;应急救援情况和已采取的措施;报告人的姓名、联系电话。
报告事故后出现新情况的,以及对事故情况尚未报告清楚的,应当及时逐级续报。对于区委、区人民政府要求核实的情况,电话反馈时间不得超过20分钟。区领导同志作出批示、提出要求后,相关部门(单位)要及时报告落实情况。
4.2 先期处置
4.2.1 事故发生后,事故单位在报告事故的同时,首先按照本单位制定的应急预案开展自救。尽快组织抢救伤员,判定事故原因和可能造成的危害,采取措施防止事故扩大。严格保护事故现场,妥善保存现场相关物件及重要痕迹等各种物证。
4.2.2 区人民政府根据特种设备事故情况,组织相关部门立即赶赴现场,开展伤员抢救、灭火消毒、人员疏散、隐患处置工作。
4.3 分级响应
初判发生特别重大、重大特种设备事故,由区人民政府做好先期处置,并接受市指挥部统一指挥。初判发生较大、一般特种设备事故,由区人民政府负责应对。
根据特种设备事故的可控性、严重程度和影响范围,区级层面特种设备事故应急处置工作实行两级响应。
一级响应:发生较大特种设备事故时,由区指挥部组织实施应急处置工作,并接受市指挥部指导。超出本区处置能力时及时报请市市场监管委派出指导协调组和事故调查组。
二级响应:发生一般特种设备事故时,由区指挥部组织实施应急处置工作,并及时向市指挥部上报事故信息。
特种设备事故信息一经收到,区应急指挥部各成员单位及事故相关单位各自按照特种设备事故应急预案立即启动应急响应,迅速组织落实应急响应措施,对特种设备事故处置工作进行部署和实施。
4.4 处置措施
根据特种设备事故实际情况,区人民政府采取以下1项或多项措施:
(1)对事故危害情况进行初始评估,包括事故范围、事故危害扩展的潜在可能性以及人员伤亡和财产损失情况。
(2)封锁事故现场,建立现场抢险救援工作区域。根据事故的类别、规模、危害程度、天气条件以及污染现场监测结果等因素,设立现场抢险救援工作区域和安全疏散区域。开辟应急救援人员、车辆及物资进出的安全通道,维持事故现场的社会治安和交通秩序。
(3)紧急疏散人员。发生危害介质泄漏时,应立即确定事发地周边居民和群众的疏散区域,下达人员疏散的指令,组织人员疏散和清场检查,并做好疏散过程中的医疗、卫生保障和救助。
(4)采取措施,排除险情,防止事故扩大。根据发生事故的特种设备的结构和工艺特点以及事故的类别,对特种设备迅速开展必要的技术检验、检测工作,由应急和生态环境部门确认危险物质的类型、特性及防护措施,制定抢险救援的技术方案,并采取特定的安全技术措施,及时有效地控制事故的扩大,消除事故危害和影响并防止可能发生的次生灾害。
(5)抢救伤员,组织救治。及时、科学、有序地开展受害人员的现场抢救或者安全转移,尽最大可能降低人员伤亡、减少财产损失。保障救护车辆由事故现场至救治医院的道路畅通。针对事故伤害特征,组织有关医疗机构、专家实施救治。
(6)排查事故原因。组织有关专业技术人员排查事故原因,对事故设备检验检测并进行安全评估,排查可能存在的其他危害。
(7)疏散人员安置。紧急征用车辆,将从疏散区域转移出来的群众运送至安置场所。启动紧急避难场所(如中小学、影剧院、体育馆、公园、广场等),妥善安排疏散群众的食宿,做好对群众的宣传解释和安抚工作。必要时,通过各种新闻媒体发布公告,告知事故情况、影响区域、可能造成的危害以及自我防护知识。
(8)应急人员的安全防护。参加应急处置和抢险救援的工作人员,按要求配备安全防护用品和必要的安全装备。在专业部门、专业人员的指导下对事故现场进行必要的技术处理。
(9)社会动员。区人民政府在应急抢险救援过程中,负责动员、调动有关人员物资、设备、器材以及征用场地,有关单位和个人应给予支持、配合并提供尽可能的便利条件,任何单位和个人不得拖延、阻拦和拒绝。
(10)消除危害后果。针对事故对人体、动植物、土壤、水源、空气造成的现实危害和可能发生的危害,迅速采取封闭、隔离、清洗等措施,防止对人的继续危害和对环境的污染。对有毒有害介质造成的危害进行监测、处理,直至符合国家环境保护标准。
4.5 响应升级
对于难以控制或有扩大、恶化趋势的事故,应采取果断措施,迅速扩大疏散区域和现场抢险救援工作区域,撤离现场人员,疏散群众,防止造成危害扩大;当突发事件事态进一步扩大,预计已经超出初始判定的相应等级时,应立即报上级指挥部提高应急响应级别,请求支援。
4.6 新闻报道
区委宣传部指导有关部门,做好特种设备事故应急新闻报道工作。较大、一般特种设备事故的信息发布与舆情引导工作,由区委宣传部负责,并接受市委宣传部指导。特别重大、重大特种设备事故的信息发布与舆情引导工作,按照《天津市特种设备事故应急预案》规定执行,区人民政府做好相关配合工作。未经批准,参与应急处置工作的单位和个人不得擅自对外发布消息。
4.7 应急结束
4.7.1 一般、较大特种设备事故由区人民政府或区指挥部宣布应急结束,并报市指挥部,各部门转入常态工作。重大、特别重大特种设备事故应急结束的宣布,按照《天津市特种设备事故应急预案》规定的程序执行,现场应急救援队伍有序撤离。同时,视情继续采取必要措施,防止灾情反弹或引发次生、衍生事故。
4.7.2 应急结束按照以下程序进行:
(1)事故现场隐患得到妥善处置,事故险情得到消除,经现场指挥部检查确认,不存在造成次生事故因素,不会对事故现场和周围环境造成火灾、中毒及环境影响时,根据响应级别,经批准,可以撤销疏散区域,撤回疏散人员。
(2)事故伤员全部送至医院救治,事故死亡人员遗体得到妥善处置,失踪人员已查明,事故现场处于保护状态,根据响应级别,经批准,可以撤销警戒区域,撤回事故应急救援队伍,事故现场交由事故单位或区人民政府监管。
(3)具备下列条件时,区指挥部办公室可以报请应急结束:死亡和失踪人员已经查清;事故危害得以控制;次生事故因素已经消除;受伤人员基本得到救治;紧急疏散人员恢复正常生活。
(4)必要时,区指挥部通过信息发布平台和新闻媒体等向社会发布应急结束信息。
5 后期处置
5.1 善后处置
(1)善后处置工作由区人民政府负责,救援工作临时征用的房屋、运输工具、通信设备等物资,应当及时返还,造成损坏或无法返还的,按照有关规定给予补偿或作出其他恰当处理。
(2)相关部门和事故发生单位要妥善处理事故伤亡人员,并 做好家属的安置、救济、补偿和保险理赔。
(3)做好污染物的收集、清理与处理等工作。
(4)尽快恢复生产、生活正常秩序,消除事故后果和影响, 安抚受灾和受影响人员,确保社会稳定。
5.2 社会救助
社会团体、个人或者国外机构捐赠资金和物资的管理与监督,由民政等部门按国家法律、法规的规定执行,严禁侵占、挪用。
5.3 总结评估
区指挥部办公室应对应急救援工作进行总结,报区指挥部、抄送相关单位。区指挥部办公室做好应急期间有关文字资料、图片资料、录像资料等整理归档工作。
6 保障措施
6.1 通信与信息保障
6.1.1 区人民政府建立包括负责特种设备事故应急职能部门、特种设备应急处置队伍、专业救援力量等内容在内的通信方案。
应急处置期间,采用无线对讲机等通讯方式,保证事故现场与指挥部的联络通畅。易燃易爆场所应使用防爆型通讯设备。
6.1.2 区指挥部办公室制定区特种设备事故应急组织网络单位联络表和市有关部门常用联系电话表,并定期更新,保证联络通畅。
6.2 资金保障
6.2.1 区财政局应当设立专项应急资金,用于组建特种设备事故应急救援专家队伍、组织应急演练、人员奖励等;对救援体系的运行给予经费保障;区级特种设备事故应急物资储备,区级应急处置专家的培训,配置个人防护和检测仪器设备、交通工具。处置特种设备事故所需财政担负的经费,按照现行事权、财权划分原则,由区财政部门按规定予以保障。
6.2.2 区人民政府根据本区域企业的实际情况,设立应急专项资金,同时作为本区域内应急物资、人员装备、应急演练的经费来源,确保能够应对本区域内突发特种设备事故。
6.2.3 特种设备使用单位应保障预防预警措施和应急演练的经费需求。
6.3 队伍保障
区消防救援、公安部门是天津市在线赌场 特种设备事故应急救援的主要救援力量。其他兼职消防力量及社会志愿应急队伍是特种设备事故应急救援的补充力量。
区市场监管局牵头组建区特种设备应急处置队伍。主要负责开展锅炉、压力容器、压力管道、电梯、起重机械、大型游乐设施和场(厂)内专用机动车辆等特种设备事故处置技术支持、调查分析等工作。
(1)区指挥部组建综合应急救援队伍时,应充分考虑辖区内特种设备的分布特点,配备人员、装备,开展培训、演练。
(2)区市场监管局应按照有关法律、法规要求,督促特种设备使用单位落实特种设备应急救援措施。
(3)组建应急救援专业队伍的单位应制定应急救援预案,落实应急救援的专业装备和措施,编制内部联络表册,并定期组织内部演练。
(4)区指挥部下达应急救援行动指令或应急演练指令后,相关应急救援专业队伍单位应按照指令要求,立即出动应急救援队伍。
6.4 装备保障
区人民政府针对可能发生的特种设备事故类型以及事故救援的需要和特点,依托企业建立专业救援队伍、储备有关专业应急救援物资。依托现有资源,合理布局并补充完善应急救援力量;为参加事故救援的公安、消防救援机构、应急救援抢险专业队伍等应急救援力量配备相适应的救援装备。
7 宣传教育、培训和应急演练
7.1 宣传教育
区人民政府、区指挥部各成员单位和各镇人民政府、街道办事处要加强事故预防、避险、避灾、自救、互救等知识的宣传教育,并向社会公布抢险电话。
电梯等使用单位在宣传教育时应当考虑老年人的需要,提供针对老年人特点的事故风险提醒、突发情况处置措施等知识。
7.2 培训
区人民政府、区指挥部各成员单位和各镇人民政府、街道办事处要广泛宣传应急避险知识,深入普及自救互救技能,提高应急文化建设水平,要组织、督促有关政府职能部门、特种设备使用单位和专业抢险救援机构开展相关人员的应急培训,锻炼提高在突发事故情况下快速抢险救援、及时营救伤员、正确指导帮助群众防护或者撤离、有效消除危害等应急救援技能和综合素质。
7.3 应急演练
区人民政府和特种设备使用单位每年至少组织1次特种设备事故应急演练,区指挥部办公室依据本预案每2年至少组织1次特种设备事故应急演练,检验应急预案,提高实战水平。演练结束后,应当对演练情况进行评估、总结,对应急预案进行修订和完善。
8 附则
8.1 责任与奖惩
8.1.1 特种设备事故应急工作实行领导负责制和责任追究制。对在特种设备事故应急救援、指挥、检测、信息报送等方面和为应急救援工作提供技术方案、技术支持方面有突出贡献,以及在事故调查工作中对事故界定、鉴定起到重要作用的单位和个人,按照国家和本市有关规定给予表彰和奖励。
8.1.2 任何单位和个人均有义务向各人民政府、市场监管部门以及有关部门报告特种设备事故及其隐患,均有权举报不履行或者不按照规定履行事故应急处置职责的部门、单位和个人。
8.1.3 对瞒报、迟报、漏报、谎报事故信息及在事故和事故处置中玩忽职守、不听从指挥、不履行职责或者临阵脱逃、擅离职守的人员,以及扰乱、妨碍抢险救援工作的单位和人员,由所在单位或有关部门按有关规定给予责任追究或者处分;构成犯罪的,依法追究刑事责任。
8.2 涉外情况
事故涉及外籍人员或港澳台地区人员伤亡、失踪、被困的,参照《天津市涉外突发事件应急预案》办理。
8.3 预案管理
8.3.1 本预案解释工作由区市场监管局承担。
8.3.2 区指挥部办公室应结合应急管理工作实践,及时组织修订预案。遇有特殊情况可随时修订。修订后的应急预案应重新办理审查、论证、备案等各项程序。
8.3.3 本预案自印发之日起实施,有效期5年。2014年11月5日公布的《在线赌场 人民政府办公室关于印发在线赌场 防汛应急预案等35个专项应急预案的通知》(津南政办发〔2014〕34号)中的《在线赌场 特种设备事故应急预案》同时废止。
附件:特种设备事故分级
附件
特种设备事故分级
1.有下列情形之一的,为特别重大特种设备事故:
(1)特种设备事故造成30人以上死亡,或者100人以上重伤(包括急性工业中毒,下同),或者1亿元以上直接经济损失的;
(2)600兆瓦以上锅炉爆炸的;
(3)压力容器、压力管道有毒介质泄漏,造成15万人以上转移的;
(4)客运索道、大型游乐设施高空滞留100人以上并且时间在48小时以上的。
2.有下列情形之一的,为重大特种设备事故:
(1)特种设备事故造成10人以上30人以下死亡,或者50人以上100人以下重伤,或者5000万元以上1亿元以下直接经济损失的;
(2)600兆瓦以上锅炉因安全故障中断运行240小时以上的;
(3)压力容器、压力管道有毒介质泄漏,造成5万人以上15万人以下转移的;
(4)客运索道、大型游乐设施高空滞留100人以上并且时间在24小时以上48小时以下的。
3.有下列情形之一的,为较大特种设备事故:
(1)特种设备事故造成3人以上10人以下死亡,或者10人以上50人以下重伤,或者1000万元以上5000万元以下直接经济损失的;
(2)锅炉、压力容器、压力管道爆炸的;
(3)压力容器、压力管道有毒介质泄漏,造成1万人以上5万人以下转移的;
(4)起重机械整体倾覆的;
(5)客运索道、大型游乐设施高空滞留人员12小时以上的。
4.有下列情形之一的,为一般特种设备事故:
(1)特种设备事故造成3人以下死亡,或者10人以下重伤,或者1万元以上1000万元以下直接经济损失的;
(2)压力容器、压力管道有毒介质泄漏,造成500人以上1万人以下转移的;
(3)电梯轿厢滞留人员2小时以上的;
(4)起重机械主要受力结构件折断或者起升机构坠落的;
(5)客运索道高空滞留人员3.5小时以上12小时以下的;
(6)大型游乐设施高空滞留人员1小时以上12小时以下的。
法律、法规、规章另有规定的,按其规定执行。本预案所称“以上”含本数,“以下”不含本数。